20181031 比利時詹森兄弟詹森紅狐鴿系發揮到第18代介紹
2018/10/31 08:09
瀏覽2,795
迴響0
推薦0
引用0







2018103比利時詹森兄弟詹森紅狐鴿系發揮到第18代介紹
牛頓曾經說過:「如果說我看得比別人更遠些,那是因為我站在巨人的肩膀上。」在賽鴿界,詹森似乎也曾藉助了別人的「肩膀」,在此基礎上,詹森兄弟發揮所長,在自己的育種之路上一路高歌,建立起金字塔般的種鴿群體,流傳於世,生生不息。
無絳不成系成經典之談
在詹森兄弟的種鴿中,永遠保有部分絳羽色鴿,這是人皆知曉的事實。詹森家族的成功告訴了無數後來的養鴿人,鴿舍中不可多絳鴿,但是不可無絳鴿。不以絳鴿為競翔主力,但是以絳鴿來搭「橋」,效果往往出乎意料。 毫不誇張地說,絳鴿是詹森系信鴿性能保持經久不衰,羽色方面長久保持種系特色的育種之 「 橋 」 。用絳色鴿作為橋鴿,詹森家族善用且會用。
神奇的「紅狐狸」拉開了一段鴿界傳奇
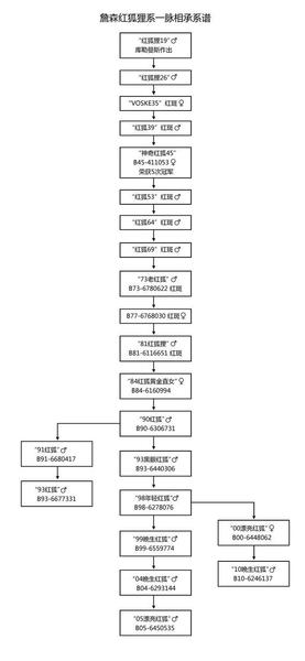
1919年,詹森兄弟的老大馮斯詹森去拜訪他的戰友路易士.庫勒曼,帶回了一羽信鴿「紅狐1919(Vos 1919)」——這是詹森紅輪的源頭。
紅鴿最大的用途,在於強化雄鴿的遺傳特質不會減弱,同時很容易產生雜交融合。詹森兄弟並不「以色取鴿」,但是總會維持絕對數量的紅輪鴿。在詹森八大種鴿配對中,紅絳這一鴿系爆發力驚人。在早期詹森兄弟鴿舍里曾經有一羽名為「神奇紅狐45」的超級母鴿B45-411053號誕生,這羽雌鴿曾榮獲5此冠軍。
從此,一路血脈相承,詹森的紅狐家族壯大並嶄露頭角。其中備受關注的當屬「81紅狐狸」及其子代。
大名鼎鼎的「81紅狐狸」B81-6116651
詹森因為紅狐而驕傲,而其血統,想必是許多賽鴿棚中必備的雜交「粘合劑」。「紅狐」種系帶給詹森兄弟的不但是名利上的收穫,更多的想必是其在追求賽鴿運動道路上步履不停的精神狀態和一顆樂趣的心吧。
以上轉載至網路若有侵權請告知,將立即刪除處理。
你可能會有興趣的文章:





